Получение экстракционной фосфорной кислоты
Учим химию / Производство экстракционной фосфорной кислоты / Учим химию / Производство экстракционной фосфорной кислоты / Получение экстракционной фосфорной кислоты Получение экстракционной фосфорной кислоты
Страница 1

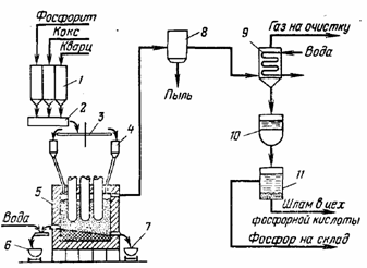
Непосредственно перед получением ЭФК, получают фосфор по специальной технологии (рис 1.)

Рис 1. Схема производства фосфора

: 1 — бункеры сырья; 2 — смеситель; 3 — кольцевой питатель; 4 — бункер шихты; 5 — электропечь; 6 — ковш для шлака; 7 — ковш для феррофосфора; 8 — электрофильтр; 5 — конденсатор; 10 — сборник жидкого фосфора; 11 — отстойник

Фосфорную кислоту в лабораторных условиях легко получить окислением фосфора 32%-ным раствором азотной кислоты:

5030-39.jpg

В промышленности фосфорная кислота получают термическим и экстракционным способами.

Экстракционный способ (позволяет производить наиболее чистую фосфорную кислоту) включает основные стадии: сжигание (окисление) элементного фосфора в избытке воздуха, гидратацию и абсорбцию полученного P4O10 , конденсацию фосфорной кислоты и улавливание тумана из газовой фазы. Существуют два способа получения P4O10: окисление паров P (в промышленности используют редко) и окисление жидкого P в виде капель или пленки. Степень окисления P в промышленных условиях определяется температурой в зоне окисления, диффузией компонентов и другими факторами. Вторую стадию получения термической фосфорной кислоты- гидратацию P4O10 - осуществляют абсорбцией кислотой (водой) либо взаимодействием паров P4O10 с парами воды. Гидратация (P4O10 + 6H2O5030-41.jpg 4H3PO4) протекает через стадии образования полифосфорных кислот. Состав и концентрация образующихся продуктов зависят от температуры и парциального давления паров воды.

Все стадии процесса совмещены в одном аппарате, кроме улавливания тумана, которое всегда производят в отдельном аппарате. В промышленности обычно используют схемы из двух или трех основных аппаратов. В зависимости от принципа охлаждения газов существуют три способа производства термической фосфорной кислоты: испарительный, циркуляционно-испарительный, теплообменно-испарительный.

Испарительные системы, основанные на отводе теплоты при испарении воды или разбавленной фосфорной кислоты, наиболее просты в аппаратурном оформлении. Однако из-за относительно большого объема отходящих газов использование таких систем целесообразно лишь в установках небольшой единичной мощности.

Циркуляционно-испарительные системы позволяют совместить в одном аппарате стадии сжигания P, охлаждения газовой фазы циркулирующей кислотой и гидратации P4O10. Недостаток схемы - необходимость охлаждения больших объемов кислоты. Теплообменно-испарительные системы совмещают два способа отвода теплоты: через стенку башен сжигания и охлаждения, а также путем испарения воды из газовой фазы; существенное преимущество системы - отсутствие контуров циркуляции кислоты с насосно-холодильным оборудованием.

На отечественных предприятиях эксплуатируют технологические схемы с циркуляционно-испарительным способом охлаждения (двухбашенная система). Отличительные особенности схемы: наличие дополнительной башни для охлаждения газа, использование в циркуляционных контурах эффективных пластинчатых теплообменников; применение высокопроизводительной форсунки для сжигания P, обеспечивающей однородное тонкодисперсное распыление струи жидкого P и полное его сгорание без образования низших оксидов.

Страницы: 1 2 3

Смотрите также

Оптимизация ХТП на различных уровнях иерархии
...

Вслед за Либихом
В 1825 г. торговое судно впервые доставило в Гамбург чилийскую селитру. Груза было много — он был насыпан выше бортов, и никто не догадывался, зачем он нужен. В то время был уже огромн ...

Неорганические аниообменники, синтезированные на основе гидроксидов металлов
В представленных статьях гидроксиды металлов рассмотрены в качестве ионитов в различных водных и смешанных средах. Обсуждены химические и физические свойства, методы синтеза и сорбционная а ...