Результаты исследований
Страница 1

На рисунке 8 показана схема созданного нами биосенсора на P.aeruginosa АТСС 27853 с наноразмерной по координате электрохимической реакции биохимически активной мембраной.

Рисунок 8. Схема компановки биосенсора с нанопреходами по координате электрохимической реакции для регистрации P. aeruginosa АТСС 27853.

Взаимодействие антиген-антитело приводит к изменению электростатических характеристик ДЭС, следствием чего является рост тока во внешней цепи электрохимической ячейки.

Поскольку большая доля биосенсоров, в состав которых входит трандьюсер, является электрохимическими устройствами, то их работоспособность и воспроизводимость измеряемых данных в значительной мере зависит от материала рабочего электрода, его чистоты. Для массового производства биосенсоров можно использовать Pt о.с.ч. 00 и Au о.с.ч. 00.

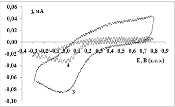
Нами проведено изучение электрохимического поведения Pt о.с.ч. 00 и Au о.с.ч. 00 в фосфатном буферном растворе (PBS),который использовался в качестве поддерживающего электролита. На рис. 9 показаны ВАХ (вольтамперные характеристики) от межфазной границы раздела Pt/ PBS в зависимости от скорости развертки (V/s) по потенциалу Е. При медленных развертках ЦВАЗ имеет один катодный максимум тока на катодной волне, а сами токи являются токами заряжения. С увеличением скорости развертки величина регистрируемых токов увеличивается, а токи определяются электрической емкостью ДЭС (двойного электрического слоя) межфазной границы. При больших скоростях развертки по потенциалу на ЦВАЗ не наблюдается токовых максимумов, а анодный и катодный ток плавно увеличивается или уменьшается в зависимости от потенциала. Анодная и катодная зависимости ВАХ обусловлены двумя процессами заряжения. Pt после подготовки активная, на что указывают большие анодные и катодные токи электродных процессов, которые реализовываются на ней. Однако форма и характер этих кривых указывает на то, что она находится в состоянии окисления. На рисунке 9 показаны ЦВАЗ при малых скоростях развертки по потенциалу в увеличенном масштабе по сравнению с рисунком 10. При самой медленной скорости развертки по потенциалу в диапазоне от 0.000 до 0.800 В через межфазную границу текут наноамперные токи, указывая на хорошую поляризуемость Pt электрода и на то, что для анодной волны протекают лишь токи заряжения.

Рисунок 9.ЦВАЗ Pt/ PBS. Рабочий электрод Pt 00. S = 0.53 см2. Электрод сравнения хлорсеребряный. Насыщен. KСl. Крутизна 1 мА/V. 1 – V/s = 5•100; 2 – V/s = 5•10-1; 3 – V/s = 5•10-2; 4 – V/s = 5•10-3.

Параметры потенциостата:

mV

T

mV

S (V/s)

шаг 1

0

10 с

шаг 5

1100

5·10(0)

шаг 2

0

1 с

шаг 6

0

5·10(0)

шаг 3

0

1 с

шаг 7

1100

5·10(0)

шаг 4

0

1 с

шаг 8

-300

5·10(0)

Рисунок 10. ЦВАЗ Pt/ PBS. Рабочий электрод – Pt 00. S = 0.53 см2. Крутизна 1 мА/V. 3 – V/s = 5·10-2; 4 – V/s = 5·10-3.

Страницы: 1 2 3 4 5 6

Смотрите также

Теория строения, многообразие, классификация и номенклатура органических соединений. Типы химических реакций
Многообразие органических соединений, их свойств и превращений объясняет теория химического строения (А. М. Бутлеров, 1861–1864). Химическое строение – это определенная последовательность располо ...

Органические соединения.
Органическими называются соединения углерода. Простейшими по составу органическими соединениями являются углеводороды, соединения, в состав которых входят углерод и водород. В молекулах органич ...

Расчет ректификационной установки для разделения бинарной смеси ацетон-бензол
Ректификация - один из самых распространенных технологических процессов в химической, нефтеперерабатывающей и, во многих других отраслях промышленности. Ректификация - это процесс раздел ...