Физические методы дегазации воды
Дипломы, курсовые и прочее / Дипломы, курсовые и прочее / Физические методы дегазации воды Физические методы дегазации воды
Страница 2

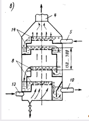
Рис. 19.2. Пленочный (а), вакуумный (б) и пенный (в) дегазатор: 1 — вентилятор; 2 — насадка из керамических колец Рашига; 3 — газоотводной патрубок; 5, 10 — ввод исходной и отвод дегазированной воды; 7— оросительные патрубки; 4 — удаление воздуха; 9 — поддон; 8 — дырчатое днище; 6 — водораспределительная воронка; 11 — люк; 12 — патрубки для водомерного стекла; 13 — ввод воздуха; 14 — пенный слой

Концентрация свободной углекислоты в воде, подлежащей дегазации, не всегда указывается в анализе. Ее можно определить следующим образом. При дегазации воды после Н-катионитовых фильтров суммарное количество углекислоты будет равно:

где Жк — карбонатная жесткость исходной воды, мг-экв/л; Снач — содержание свободной углекислоты в исходной воде, мг/л, определяемое по номограмме (рис. 19.3). Первый член формулы учитывает свободную углекислоту, образующуюся при распаде бикарбонатов.

Номограмма составлена для плотного растворенного остатка воды 20 мг/л и при температуре ее 22°С. При иных значениях температуры и плотного остатка

где Сном — содержание свободной углекислоты, найденное по номограмме (рис. 19.3); а — поправка на температуру; р — поправка на плотный растворенный остаток.

Температура, °С

0

5

10

15

20

25

30

α

1,65

1,44

1,29

1,16

1,06

1,00

0,95

Плотный растворенный остаток, мг/л

20

50

100

200

300

400

500

β

1,00

0,97

0,94

0,90

0,88

0,86

0,84

При отсутствии в анализе данных о значении рН и щелочности воды концентрацию свободной углекислоты в исходной воде (в мг/л) можно ориентировочно определять по формуле:

При дегазации воды в цикле обезжелезивания воды аэрацией

где СFe — содержание железа (П) в обезжелезиваемой воде, мг/л. Первый член формулы учитывает свободную углекислоту, выделяющуюся при гидролизе железа.

Декарбонизаторы с насадкой из колец Рашига обладают большой удельной поверхностью, малой массой в единице объема, значительным свободным объемом.

Кольцо Рашига (табл. 19.1) представляет собой полый керамический цилиндр с равными высотой и наружным диаметром.

Страницы: 1 2 3 4 5 6 7

Смотрите также

Экспериментальная часть
Реагенты и оборудование. Уравнение реакции имеет вид: Реактивы: N-фенилантраниловая кислота (С13Н11О2N, M=213 г/моль, Тпл=179-1810С) – 3г, серная кислота (Н2SО4, M=98.08 г/моль, Тпл=-13 ...

Д. И. Менделеев
Свою мини творческую работу я хотел бы начать с причин, которые подтолкнули меня к её написанию. Во-первых, до написания этой работы я знал о Дмитрии Ивановиче только то, что он был Велик ...

Понятие и биологическая роль ферментов
Я выбрала тему «Ферменты. Биокатализ. Возможности биомиметики», потому что в последнее время в качестве лекарственных средств стали широко применять препараты, оказывающие направленное влия ...